结构特点:
1、內附過濾器。
2、水平、垂直皆可安裝。
3、出口朝天可作為蒸汽排氣閥。
4、不能更換零件。
5、全密封不銹鋼焊接設計,美觀大方。
6、體積小、重量輕、抗結凍。
7、無須選擇節流孔,32K 以下皆可使用。
8、適用於中低壓蒸汽主管、伴熱管及小型熱交換器使用。
9、可使用於過熱蒸汽。
材质表:
| 外壳 | 304不锈钢 |
| 外壳 | 304L不锈钢 |
| 外壳 | 316不锈钢 |
| 排气阀 | 不锈钢 |
| 感热单元 | 不锈钢 |
| 过滤器 | 不锈钢 |
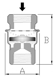
结构尺寸:

No.S70 尺寸单位(mm) 工作压力(kg/cm2) 重量(kg)
| 型号 | 口径 | A | B | 工作压力 | 重量 |
| S70 | 8,10 | 47 | 61 | 32 | 0.17 |
| S70 | 15 | 47 | 69 | 32 | 0.19 |
| S70 | 20 | 47 | 69 | 32 |
0.25 |
